
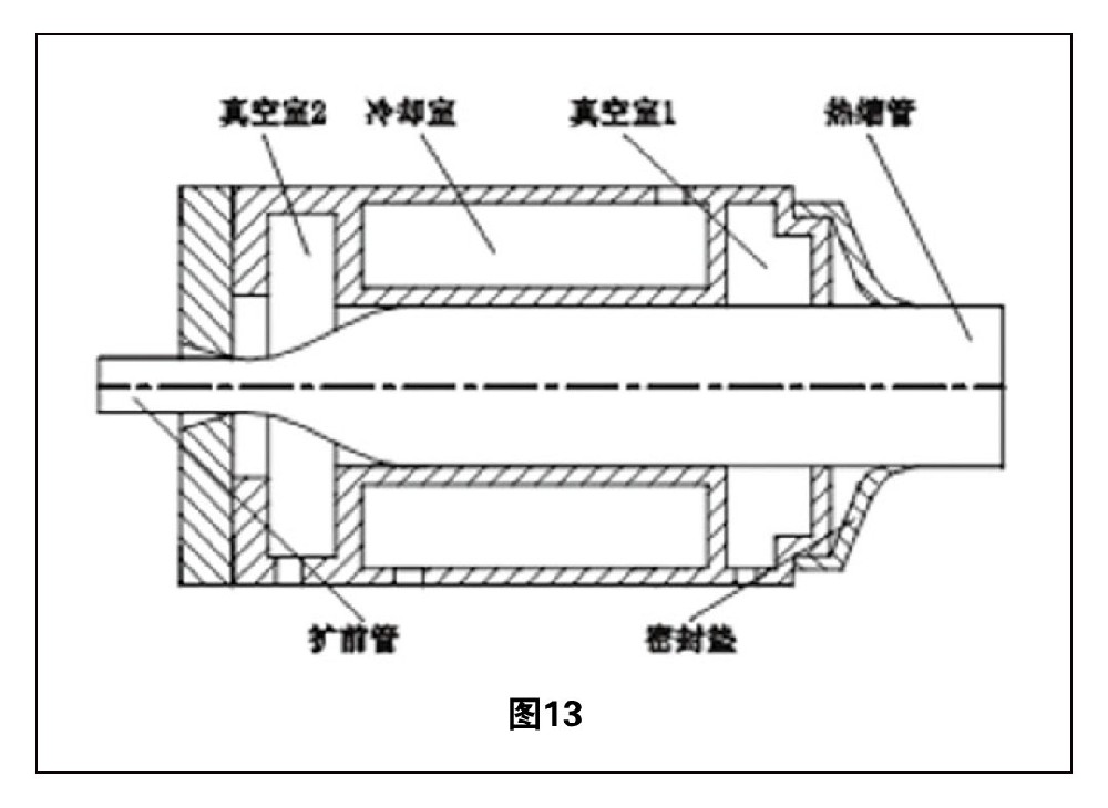
岡田光范等發明了圖 13 所示的擴張裝置,該裝置由真空室 1 、冷卻室、真空室 2 和密封墊構成。真空室 1 和真空室 2 內沒有模具,冷卻室處于兩個真空室之間,這樣不會產生模具與熱縮管之間的摩擦力,有利于減小熱縮管軸向收縮率。真空室 2 的真空等于或小于真空室 1 ,在真空壓差的作用下,熱縮管便于從擴前管向熱縮管方向移動,有利于減小軸向收縮率。由于有兩個真空室,即使擴前管的外徑發生變化,對真空的影響也不大,依然能夠保證擴張穩定。擴張方法為內壓與真空聯合擴張。

李可濤等發明了圖 14 所示的擴張裝置,該裝置由真空室、冷卻室、環形水套、模具和模嘴構成。環形水套部分的模具壁上有貫穿小孔 2 , 通過小孔 2 可以強行向模具內注入冷卻水,在真空室小孔 1 處施加的真空作用下,從小孔 2 進入的冷卻水向小孔 1 方法移動,在提高冷卻速度的同時,降低熱縮管與模具的摩擦力,熱縮管的軸向收縮率可以穩定的小于 2 %。
3 內壓擴張技術
內壓擴張技術就是利用熱縮管內部的壓縮空氣進行擴張,壓縮空氣的壓力可以達到0.2MPa-0.6Mpa ,擴張能力強,凝膠含量達到 70 % , 也能順利擴張。

圖 15 ( 1 )是對比的擴張模具,圖15(2)圖15(3)和圖15(4)是中村浩一等發明的擴張模具,從表 2 可以看出,模嘴比 A (模具最小截面內徑與擴前管外徑的比)對熱縮管軸向收縮率的影響比較大,中村浩一等發明的擴張模具制得的熱縮管軸向收縮率明顯減小。 A 為1.1時,熱縮管軸向收縮率最小, A 大于1.3以后,隨著 A 的增加,熱縮管軸向收縮率變大。擴張方法為布袋內壓擴張。
之「四」共「五」篇
本文由東莞云林搜集并整理,歡迎關注,帶你一起長知識!







業務QQ 